UAZauto.cz
Úvodní stránka » Informace » Konstrukce UAZ » Motor a jeho soustavy

Konstrukce UAZ - motor a jeho soustavy

Charakteristika motoru

Automobil UAZ - 31512 je vybaven motorem typu 414.10 - zážehový, čtyřdobý, řadový čtyřválec, s rozvodem OHV, chlazený kapalinou, s uzavřeným nuceným oběhem a kombinovaným mazáním.

Palivová soustava motoru

Má nucenou dodávku paliva a ohřev směsi paliva v sacím potrubí. Palivová soustava je nejnáročnější na kvalitu a pravidelnost ošetřování.

 

 

Schéma palivové soustavy UAZ 31512

1 - jemný čistič

2 - karburátor

3 - palivové čerpadlo

4 - pravá palivová nádrž

5 - přepínací kohout

6 - hrubý čistič

7 - odkalovací šroub

8 - levá palivová nádrž

Ošetřování palivové soustavy

Spočívá v pravidelném čištění hrubého čističe paliva vypouštěním vody a nečistot odkalovacím šroubem, čištění vložky jemného čističe paliva a vypuštěním usazenin a vody z palivových nádrží. Klikni pro větší obrázek


Mazací soustava motoru

Je kombinovaná, tlaková a rozstřikovací.

1 - olejové čerpadlo

2 - vypouštěcí šroub

3 - sací koš

4 - redukční ventil

5 - chladič oleje

6 - uzávěr plnicího hrdla

7 - přepínací kohout chladiče

8 - snímač tlaku oleje

9 - snímač kritického tlaku oleje

10 - čistič oleje

Ošetřování mazací soustavy

Spočívá v pravidelné kontrole hladiny oleje v motoru. Pokles hladiny oleje pod značku "O" je nepřípustný, protože mazání motoru je nedostatečné. Rovněž nepřípustné je plnit olej nad značku "P", protože dochází k nadměrnému vytváření karbonu, unikání oleje těsněním a k "zapékání" pístních kroužků. Svíti-li světelná kontrolka mazání po spuštění motoru, je provoz až do odstranění závady zakázán.

Olejový chladič zapínat při teplotě vzduchu +20 stupňů C nebo i nižší, ale jen při zvýšeném zatížení motoru (v těžkém terénu apod.). Pravidelně po ujetí 12 000 km vyměňovat olej v motoru a průtokový čistič oleje, vyčistit a ošetřit odvětrávací soustavu klikové skříně.


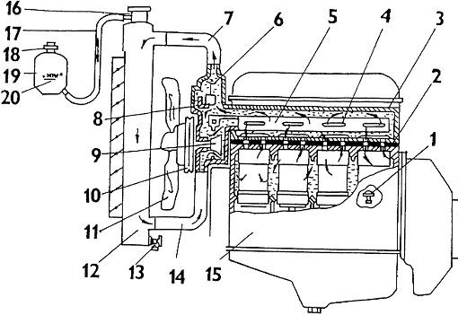
Chladicí soustava motoru

Je kapalinová, uzavřená, s nuceným oběhem chladicí kapaliny a vyrovnávací nádržkou.

1 - výpustný kohout

2 - těsnění hlavy válců

3 - hlava válců

4 - otvor rozváděcího potrubí

5 - rozváděcí potrubí

6 - termostat

7 - odváděcí potrubí

8 - přepouštěcí kanál

9 - oběžné kolo čerpadla

10 - řemenice

11 - ventilátor

12 - chladič

13 - výpustný kohout

14 - přívodní potrubí

15 - blok válců

16 - uzávěr chladiče

17 - hadice

18 - uzávěr nádržky

19 - vyrovnávací nádržka

20 - značka "MIN"

Ošetřování chladicí soustavy

Pravidelně sledovat a doplňovat chladicí kapalinu 30 až 50 mm nad značku "MIN" vyrovnávací nádržky. Pravidelně mazat ložiska čerpadla (při vytékání kapaliny kontrolním otvorem čerpadla je vadné těsnění). V předepsaných lhůtách odstraňovat usazeniny a nečistoty v chladicí soustavě průplachem. Kontrolovat stav a napnutí klínového řemene ventilátoru a seřizovat jeho průhyb na 8 až 14 mm. Kontrolovat stav a neporušenost ventilů a těsnění uzávěru chladiče. Přehřátí chladicí kapaliny signalizuje červená světelná kontrolka. Při rozsvícení kontrolky je provoz motoru zakázán.

Váš košík

Váš nákupní košík obsahuje
0 ks zboží za 0 Kč


Ukázat obsah košíku

Kategorie
  • Motor

  • Palivová soustava

  • Výfuková soustava

  • Chladící soustava

  • Spojka

  • Převodovky

  • Nápravy, zavěšení, pérování

  • Řízení

  • Brzdy

  • Elektrické zařízení

  • Karosérie

  • Interiér

  • Výbava a příslušenství

Přihlášení

Zaregistrovat se

Zapomenuté heslo

  • Katalog produktů

    • Motor
    • Palivová soustava
    • Výfuková soustava
    • Chladící soustava
    • Spojka
    • Převodovky
    • Nápravy, zavěšení, pérování
    • Řízení
    • Brzdy
    • Elektrické zařízení
    • Karosérie
    • Interiér
    • Výbava a příslušenství
  • Obchodní podmínky

  • Servis a opravy

    • Naše nabídka
    • Objednávka
    • Služby
  • CD motor

    • Novinky
    • O společnosti
    • Napište nám
    • Časté otázky
    • Kontakty
  • Informace

    • Logistik AČR
      • Nabídka
      • Vojenské předpisy pro vozidla UAZ
    • Konstrukce UAZ
      • Základní údaje
      • Motor a jeho soustavy
      • Převodné ústrojí
      • Podvozek
      • Elektrické zařízení
    • Fotogalerie
    • Autokluby
Tvorba webových stránek, Redakční systém & Webdesign SUITU websites SE, © 2026