UAZauto.cz
Úvodní stránka » Informace » Konstrukce UAZ » Podvozek

Konstrukce UAZ - podvozek

Nápravy s rozvodovkami

Skříň zadní i přední rozvodovky je dělena ve svislé rovině a složena ze dvou částí spojených šrouby. Do obou polovin skříně jsou zalisovány a upevněny bodovými svary mostové trouby. Na mostové trouby zadní nápravy jsou přivařeny držáky tlumičů pérování. Stálý převod tvoří pastorek a talířové kolo se šroubovým ozubením.

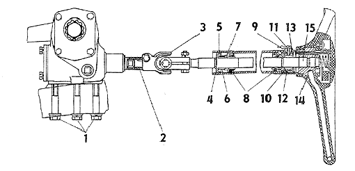
Rozvodovka zadní nápravy

1 - odvětrávací ventil

2 - ložisko diferenciálu

3 - seřizovací podložky

4 - zadní ložisko pastorku

5 - seřizovací podložky

6 - odstřikovací kroužek

7 - matice

8 - seřizovací podložky

9 - opěrné podložky

10 - přední ložisko

11 - šroub plnicího otvoru

Zadní náprava

Zadní náprava má převodový poměr stálého převodu 4,625 (37:8), zesílené brzdové čelisti, štíty brzd a brzdové válečky o průměru 25 mm. Tato úprava se nesmí montovat na automobil, který nemá posilovač brzd. Montáž nápravy s jiným převodovým poměrem na automobil je nepřípustná.

Ošetřování zadní nápravy

Spočívá v udržování a v pravidelné výměně oleje v rozvodovce, v kontrole těsnění, ve včasném zjištění a odstranění axiální vůle pastorku v ozubeném soukolí stálého převodu a dotahování všech spojů. Při zjištění axiální vůle pastorku, je nutno vůli odstranit dotažením matice (pozice č.7). Neodstraní-li se vůle, je nutno seřídit předpětí ložisek pastorku změnou tloušťky podložek (pozice č.5). Axiální vůle je nepřípustná.

 

Přední náprava

Přední náprava má rozvodovku stejnou jako zadní náprava. Má zesílené brzdové čelisti, štíty brzd a brzdové válečky o průměru 32 mm. Zvláštností přední nápravy je možnost řízení, přenosu momentu síly na řízená kola a zařízení pro odpojení pohonu předních kol zubovými objímkami.

Ke snížení opotřebení dílů přední nápravy a zvýšení hospodárnosti provozu na vozovkách s pevným povrchem je možno při vypnutí pohonu přední nápravy odpojit ze záběru i hlavy předních kol. Odpojovat a zapojovat se musí vždy obě kola.

 

1, 3 - páka spojovací tyče

2 - řídicí páka

5 - spojovací tyč

7 - převodka řízení

Řízení

Řízení automobilu UAZ 31512 je mechanické. Převodka řízení je s globoidním šnekem s dvouhřebenovou kladkou, bezpečnostní s děleným hřídelem.

1 - upevňovací šrouby

2 - pouzdro

3 - kloub

4 - pojistný kroužek

5 - ochranná podložka

6 - pružina

7 - rozpěrné pouzdro

8 - ložisko

9 - kabel houkačky

10 - kontaktní deska

11 - šroub

12,13 - izolační podložka

14 - volant

15 - hřídel volantu

 

Ošetřování řízení

Spočívá v pravidelném dotahování a upevňování šroubů převodky k rámu, v kontrole upevnění a zajištění kulových čepů, upevnění řídicí páky, kontrole vůle volantu, v mazání kulových čepů a v doplňování oleje do převodky řízení. Převodka řízení nevyžaduje seřízení, jestli-že volný chod volantu při poloze kol v přímém směru nepřevyšuje 10 stupňů.

Pérování

Pérování automobilu se skládá ze čtyř podélných půleliptických listových per, která jsou v činnosti společně se čtyřmi teleskopickými kapalinovými tlumiči pérování. Ošetřování pérování spočívá v pravidelné kontrole stavu listových per, tlumičů a v odstraňování zjištěných závad.

Kola a pneumatiky

Kola jsou disková s hlubokým neděleným ráfkem. Pláště jsou nízkotlaké s dušemi. Ošetřování kol spočívá v pravidelné kontrole pneumatik a tlaku vzduchu v pneumatikách, v dotahování matic kol, záměně a vyvažování kol. atice je nutno dotahovat postupně, vždy přes jednu. Aby se zabránilo zadírání matic, doporučuje se matice namazat mazivem po každé demontáži kola.

Brzdy

Na všech kolech automobilu jsou čelisťové brzdy s oddělenými okruhy kapalinového ovládání předních a zadních kol pomocí dvoukomorového hlavního brzdového válce s posilovačem. S brzdovými válečky o průměru 32 mm s jedním pístkem v předních kolech a s brzdovými válečky o průměru 25 mm se dvěma pístky v zadních kolech.

    

Váš košík

Váš nákupní košík obsahuje
0 ks zboží za 0 Kč


Ukázat obsah košíku

Kategorie
  • Motor

  • Palivová soustava

  • Výfuková soustava

  • Chladící soustava

  • Spojka

  • Převodovky

  • Nápravy, zavěšení, pérování

  • Řízení

  • Brzdy

  • Elektrické zařízení

  • Karosérie

  • Interiér

  • Výbava a příslušenství

Přihlášení

Zaregistrovat se

Zapomenuté heslo

  • Katalog produktů

    • Motor
    • Palivová soustava
    • Výfuková soustava
    • Chladící soustava
    • Spojka
    • Převodovky
    • Nápravy, zavěšení, pérování
    • Řízení
    • Brzdy
    • Elektrické zařízení
    • Karosérie
    • Interiér
    • Výbava a příslušenství
  • Obchodní podmínky

  • Servis a opravy

    • Naše nabídka
    • Objednávka
    • Služby
  • CD motor

    • Novinky
    • O společnosti
    • Napište nám
    • Časté otázky
    • Kontakty
  • Informace

    • Logistik AČR
      • Nabídka
      • Vojenské předpisy pro vozidla UAZ
    • Konstrukce UAZ
      • Základní údaje
      • Motor a jeho soustavy
      • Převodné ústrojí
      • Podvozek
      • Elektrické zařízení
    • Fotogalerie
    • Autokluby
Tvorba webových stránek, Redakční systém & Webdesign SUITU websites SE, © 2026